凌科药业冲刺港股业绩,前九月营收增长,亏损扩大至逾一亿港元
凌科药业正在冲刺港股上市,最新数据显示,公司前九个月实现营收5478万元,期内亏损达到1.45亿元,尽管面临亏损,但凌科药业仍积极向前发展,其业绩波动也引起了资本市场的关注,市场将密切关注其业绩动态及上市进程。
雷递网 12月1日
凌科药业(浙江)股份有限公司(简称“凌科药业”)日前递交招股书,准备在港交所上市。
前9个月营收5478万 期内亏损1.45亿
凌科药业是一家自身免疫及炎症疾病的创新差异化小分子抑制剂的开发商。凌科药业的临床管线主要集中于Janus激酶-讯号转导及转录激活因子(JAK-STAT)的信号通路。
截至最后实际可行日期,凌科药业核心产品包括LNK01001,一款高选择性、有潜力成同类最佳的第二代JAK1抑制剂,以及LNK01004,一款有潜力成为同类首创的第三代软性泛JAK抑制剂,靶向自身免疫及炎症疾病。
凌科药业的关键产品LNK01006是一款可穿透中枢神经系统的别构TYK2抑制剂,靶向中枢神经系统的相关疾病。
此外,凌科药业建立创新专有IsoNova蛋白降解平台,其采用稳健的单分子设计,可消除非活性异构体,从而提供更清晰、更优良的安全度。
招股书显示,凌科药业2023年、2024年营收分别为2057万元、1698万元;期内亏损分别为2.6亿、3.12亿元;
凌科药业2025年前9个月营收为5478万元,上年同期的营收为1203万元;期内亏损为1.45亿元,上年同期的期内亏损为2.6亿元。
截至2025年9月30日,凌科药业持有的现金及现金等价物为1.47亿元。
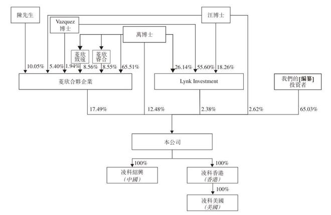
万昭奎控制35%股权
凌科药业执行董事分别为万昭奎博士、汪俊博士、Michael Lawrence Vazquez博士、陈龑,非执行董事为金祺,独立非执行董事分别为于常海博士、邵黎明博士、文思怡女士。
IPO前,万昭奎博士持股12.48%,汪俊博士持股为2.62%,菱欣合伙企业持股为17.49%,Lynk Investment持股2.38%,一共持股为34.97%。
Decheng LYNK持股为9.67%,健妙持股为6.81%,绍兴滨海持股为4.7%,礼安凌杭、苏州礼润分别持股为4.33%,德佳诚誉持股为4.15%,国药创新持股为3.35%,凯泰成德、凯泰厚德分别持股为3.16%,创熠凯泰持股为2.76%,两仪幂方、一元幂方分别持股为2.25%;
金圆幂方持股为0.47%,依塔幂方持股为0.45%,君联惠康持股为2.09%,联新科技持股为2.26%,和达新医药持股为0.84%,联东集团持股为1.46%,泰鲲投资持股为2.05%;
千杉幂方、千杉启永分别持股为0.68%,浙商基金持股为1.38%,赣州利彪持股为0.23%,海邦展优持股为0.58%,景炎投资持股为0.44%。

还没有评论,来说两句吧...