聚水潭启动招股,获红杉等机构投资超亿美元,港股上市倒计时启动
聚水潭即将在港股上市,已获红杉等投资机构共计1.3亿美元的基石投资,该公司计划于10月21日正式启动招股,备受市场关注,此举标志着聚水潭的发展进入新的阶段,未来有望借助资本市场的力量实现更大规模的业务拓展和持续增长。
雅虎财经 10月13日
聚水潭集团股份有限公司(简称:“聚水潭”,股票代码::“6687”)日前开启路演,准备2025年10月21日在港交所上市。
聚水潭基石投资者分别包括Blue Lake Capital Opportunity Fund、汇添富CUAM实体、DAMSIMF、Fourier Global Master Fund、GRANITE ASIA VIII INVESTMENTS PTE、香港景林、GTCS Holdings、HongShan Growth、Jain Global Master Fund、Perseverance Asset Management、Stoneylake Global Alpha Fund、WT资产管理、3W Fund,均分别认购1000万美元,一共认购1.3亿美元。
聚水潭是2023年6月第一次递交招股书,时隔两年多后终于可以上市。2025年6月,聚水潭刚刚拿到上市的钥匙。
上半年营收5.2亿 经营利润2709万
聚水潭成立于2014年,聚水潭创建之初,以电商SaaS ERP切入市场,随着客户需求的不断变化,如今聚水潭已经发展成为以SaaS ERP为核心,集多种商家服务为一体的SaaS协同平台。
聚水潭已在全国设立了超过100个线下服务网点,服务范围覆盖超过500个城镇,为客户提供及时、周到和专业的服务。
招股书显示,聚水潭2022年、2023年、2024年营收分别为5.23亿元、7亿元、9.1亿元;毛利分别为2.74亿元、4.34亿元、6.23亿元;毛利率分别为52.3%、62.3%、68.5%。
聚水潭2022年、2023年、2024年经营亏损分别为3.7亿、2.39亿、6209万;经营利润率分别为-70.7%、-34.3%、-6.8%;年内利润分别为-5.07亿、-4.9亿、1058万元;年内利润率分别为-97%、-70%、1.2%。
聚水潭2025年上半年营收为5.24亿元,较上年同期的4.21亿元增长24.5%;毛利为3.76亿元,上年同期的毛利为2.8亿元;毛利率为71.8%,上年同期的毛利率为66.4%。
聚水潭2025年上半年经营利润为2709万元,上年同期的经营亏损为4796万元;经营利润率为5.2%,上年同期的经营利润率为-11.3%;期内亏损为3954万元,上年同期的期内亏损为6034万元;期内亏损率为7.6%,上年同期的期内亏损率为14.3%。
聚水潭2022年、2023年、2024年经调整净利分别为-3.79亿、-2.06亿、4899万元;2025年上半年经调整净利为4696万元,上年同期为经调整亏损3344万元。
截至2025年6月30日,聚水潭持有现金及现金等价物为7.31亿元。
微光红杉GGV是股东
聚水潭执行董事分别为骆海东、贺兴建、李灿升、王瑜;非执行董事分别为WangDonghui、陈洪亮、周逵;独立非执行董事分别为罗玫女士、李嘉俊、盛凯强。
2015年,聚水潭完成由上海阿米巴佰晖、陈昊辉及吴宵光投资的天使轮融资,规模为1290万元,投后估值为8300万元。
2017年,聚水潭完成由湖州万漉、福州阿米巴、上海阿米巴佰晖及北京微光股权投资合伙企业(有限合伙)投资的A轮融资,融资规模为3750万元,投后估值为2.5亿元。
2019年,聚水潭完成由苏州圆璟、杭州圆璟及Dimension Enterprises投资B1轮融资,融资规模为6500万元,投后估值为9.2亿元。
2019年,完成由上海蓝湖、Blue Lake Capital Fund II, L.P.及嘉兴惠海投资的B2轮融资,融资规模为4750万元,投后估值为19亿元。
2019年,完成由红杉智盛投资的B3轮融资,融资规模为1.65亿元,投后估值为27.5亿元。
2020年,聚水潭完成由高盛、中金共赢基金和蓝湖资本投资的C轮融资,融资规模为2.86亿元,投后估值达到60亿元。
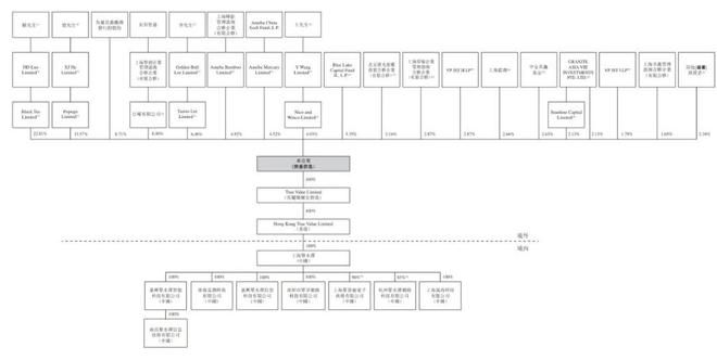
IPO前,骆海东通过Black Tea Limited持股22.81%,贺兴建通过Popogo Limited持股13.57%,员工激励将发行的股份JST Incentive Plan Limited占比为8.71%;
红杉智盛持股8%,李灿升持股为6.46%,上海晖巨管理咨询合伙企业有限公司持股为4.92%,AmebaChina持股为4.52%;
IPO前,聚水潭股权结构
王瑜持股为4.03%,BlueLake持股为3.35%,北京微光股权投资合伙企业(有限合伙)持股3.16%,Shanghai Jingyu Enterprise Management Consulting Partnership (L.P.)持股为2.87%;
VPJST II LP持股2.87%,上海蓝湖持股为2.66%,中金共赢基金持股为2.63%,GGV VIII持股为2.13%,VP JST I LP持股为1.79%。上海卓漉管理咨询合伙企业持股为1.05%。
IPO后,聚水潭股权结构
骆海东直接持股19.16%,贺兴建通过Popogo Limited持股11.4%,员工激励将发行的股份JST Incentive Plan Limited占比为7.32%,红杉智盛持股6.72%,李灿升持股为5.43%,上海晖巨管理咨询合伙企业有限公司持股为4.13%,AmebaChina持股为3.8%;
王瑜持股为3.39%,BlueLake持股为2.81%,北京微光股权投资合伙企业(有限合伙)持股2.65%,Shanghai Jingyu Enterprise Management Consulting Partnership (L.P.)持股为2.41%;
VPJST II LP持股2.41%,上海蓝湖持股为2.24%,中金共赢基金持股为2.21%,GGV VIII持股为1.79%,VP JST I LP持股为1.51%,上海卓漉管理咨询合伙企业持股为0.88%,此次IPO发售股份占比为14.81%。

还没有评论,来说两句吧...